- Назначение, устройство, принцип работы основных узлов и деталей дыхательных аппаратов на свежем воздухе
- Назначение узлов и механизмов дыхательных аппаратов
- Редуктор. Редуктор (рисунок 2) предназначен для понижения давления сжатого воздуха и подачи его к легочным автоматам аппарата и спасательного устройства
Назначение, устройство, принцип работы основных узлов и деталей дыхательных аппаратов на свежем воздухе
Подвесная система служит для крепления на ней систем и узлов аппарата и состоит из пластиковой спинки , системы ремней: плечевых , концевых , закрепленных на спинке пряжками , поясного с быстроразъемной регулируемой пряжкой.
Баллон предназначен для хранения рабочего запаса сжатого воздуха. В зависимости от модели аппарата могут применяться стальные и металлокомпозитные баллоны.
В горловине баллона нарезана коническая резьба, по которой в баллон ввинчивается запорный вентиль. Вентиль баллона состоит из корпуса, трубки, клапана со вставкой, сухаря, шпинделя, гайки сальниковой, маховичка, пружины, гайки и заглушки.
Редуктор давления закреплён на нижней части несущего каркаса. На редукторе давления находятся предохранительный клапан, шланг манометра с манометром, звуковым сигналом и шланг среднего давления. Редуктор давления уменьшает давление из баллона (10-330 атм.) до 6-9 атм.
Из редуктора выходит два шланга:
— шланг редуцированного давления – к шлангу редуцированного давления крепится легочный автомат и панорамная маска;
— шланг высокого давления – к шлангу высокого давления крепится звуковой сигнал (свисток) и манометр.
Минимальное давление, при котором редуктор обеспечивает бесперебойную работу — 10 атм., — гарантированное минимальное давления завода изготовителя, при котором обеспечивается безопасность человека.
В конструкции редуктора предусмотрен предохранительный клапан, который состоит из седла клапана, клапана, пружины, направляющей и контргайки. Седло клапана вкручено в поршень редуктора.
Лицевая часть состоит из корпуса со стеклом, закрепленном с помощью полуобойм винтами с гайками, переговорного устройства, закрепленного хомутом и клапанной коробки, с гнездом под штекерное соединение с легочным автоматом.
Легочный автомат предназначен для автоматической подачи воздуха для дыхания пользователя и поддержания избыточного давления в подмасочном пространстве лицевой части.
Манометр предназначен для контроля газодымозащитника за расходом воздуха.
Звуковой сигнализатор предназначен для извещения газодымозащитника о том, что воздух в баллоне на исходе.
Процесс дыхания характеризуется следующими показателями: частотой дыхания, жизненной емкостью легких, легочной вентиляцией, «мертвым» пространством.
Частота дыхания определяется числом вдохов, производимых за еденицу времени. Частота дыхания не является постоянной и зависит от нескольких факторов: увеличивается с повышением нагрузки и зависит от степени тренированности человека. Частота дыхания у тренированного человека составляет 6-8 дыхательных циклов в минуту; у нетренированного – 12-18 циклов в минуту. При физической нагрузке частота дыхания нетренированного человека увеличивается в большей мере. Частота дыхания зависит от пола и возраста человека.
Жизненная емкость легких – показывает объем воздуха, который человек может выдохнуть из легких после глубокого вдоха. В среднем эта величина равна 3,5 л.
Читайте также: Трубка топливная обратная с клапаном
Легочная вентиляция – определяется количеством воздуха, циркулирующего в легких за еденицу времени, то есть тем объемным количеством воздуха, который за 1 минуту вдыхается или выдыхается человеком.
«Мертвое» пространство определяется объемом воздуха, не участвующего в процессе газообмена. «Мертвое» пространство равно сумме объемов воздуха, остающегося в носовой полости, гортани, трахее, бронхах и бронхиолах при выдохе. Объем мертвого пространства составляет около 140 мл.
Ритмические колебания стенок артерий называют артериальным пульсом. Пульс отражает работу сердца. Прощупывая его, можно составить представление о работе сердца, состоянии всей сердечно-сосудистой системы и о полученной физической нагрузке.
В таблице приведена зависимость потребления кислорода (воздуха) и частоты пульса от степени тяжести выполняемой работы.
| Виды работы по степени тяжести | Потребление кислорода, л/мин | Потребление воздуха, л/мин | ЧСС, уд/мин |
| Легкая | До 1 | 12,5 | 85-100 |
| Средняя | От 1 до 1,5 | 101-125 | |
| Тяжелая | От 1,5 до 2 | 126-150 | |
| Очень тяжелая | Свыше 2 | 151-170 |
Опасные факторы, воздействующие на людей. Характеристика дыма в зависимости от состава горящих веществ и характеристика горения, токсичность продуктов термического разложения и горения. Признаки отравления человека при работе на пожаре.
Опасные факторы, воздействующие на людей:
— повышенная температура окружающей среды;
— токсичные продукты горения и термического разложения;
— пониженная полустрация кислорода.
— осколки, части разрушившихся аппаратов, агрегатов, установок конструкции;
— радиоактивные и токсичные вещества и материалы, вышедшие из разрушенных аппаратов и установок;
— эл. ток, возникший в результате выноса высокого напряжения на токопроводящие части конструкции, аппаратов, агрегатов.
Характеристика дыма зависит от вида горящих продуктов. По цвету дыма можно определить основной вид горящих материалов, что имеет существенное значение при оценке обстановки на пожаре и организации его тушения. Синий, белый и желтый цвета указывают на присутствие в составе дыма отравляющих веществ. При горении тканей, шерсти, волоса, кожи выделяются неприятно пахнущие продукты: пиридин, хинолин, цианистые и содержащие серу соединения, а также газы с сильным и острым запахом (альдегиды, кетоны). При неполном сгорании материалов, содержащих жиры и мыла, выделяется весьма опасный продукт термического разложения – акролеин, который вызывает жжение глаз, раздражение слизистых оболочек рта и носа, кашель, головокружение, вялость, воспаление легких, затруднение выдоха. Концентрацию акролеина около 0,003% человек не может перенести более 1 мин.
Краски, олифы, лаки и эмали с воспламеняемыми растворителями, содержащими разжижители, сиккативы и связующие вещества, сильно горят, выделяя густой черный дым, СО2, СО, пары воды, частицы несгоревшего углерода. Нитролаки и нитроэмали выделяют сильно токсичные газы: цианистый водород (NCN) и оксиды азота.
Пластмассы и синтетические смолы, являясь органическими веществами, содержащими в своем составе водород, кислород, азот и др., при горении выделяют густой дым, токсичные газы и много продуктов термического разложения: хлорангидридные кислоты, формальдегиды, фенол, фторфосген, аммиак, ацетон, стирол и другие вещества, оказывающие вредное влияние на организм человека.
Читайте также: Клапан stc cummins что это
Организация стока поверхностных вод: Наибольшее количество влаги на земном шаре испаряется с поверхности морей и океанов (88‰).
Поперечные профили набережных и береговой полосы: На городских территориях берегоукрепление проектируют с учетом технических и экономических требований, но особое значение придают эстетическим.
Опора деревянной одностоечной и способы укрепление угловых опор: Опоры ВЛ — конструкции, предназначенные для поддерживания проводов на необходимой высоте над землей, водой.
Механическое удерживание земляных масс: Механическое удерживание земляных масс на склоне обеспечивают контрфорсными сооружениями различных конструкций.
Назначение узлов и механизмов дыхательных аппаратов
Дыхательный аппарат со сжатым воздухом – изолирующий резервуарный
аппарат, в котором запас воздуха храниться в баллонах в сжатом состоянии. Аппарат предназначен для защиты органов дыхания и зрения человека от вредного воздействия токсичной и задымлённой газовой среды при тушении пожа- ров и аварийно-спасательных работах в зданиях, сооружениях и на производствен- ных объектах, эвакуации пострадавших из зоны с непригодной для дыхания газовой средой при использовании со спасательным устройством.
Дыхательный аппарат работает по открытой схеме дыхания, при которой вдох осуществляется из баллонов, а выдох – в атмосферу.
Подвесная система аппарата служит для монтажа на ней всех частей аппара-
та и его крепление на теле человека, включает в себя пластиковую спинку (основа- ние); систему ремней: плечевых, концевых с пряжками, поясного и нагрудного с пряжками, баллонного с пряжкой.
Панорамная маска предназначена для изоляции органов дыхания и зрения
человека от окружающей среды, подачи воздуха от лёгочного автомата на дыхание через клапаны вдоха, расположенные в подмасочнике, и удаление выдыхаемого воз- духа через клапан выдоха в окружающую среду. На внутренней поверхности корпу-
са маски имеется обтюратор, обеспечивающий плотное прилегание маски к лицу.
Переговорное устройство обеспечивает слышимость речи газодымозащитни-
ка, а также служит для передачи речевых сообщений.
Воздушный баллон служит ёмкостью для хранения рабочего запаса сжатого
Редуктор предназначен для снижения высокого давления газа до промежу-
точной заданной величины, обеспечения постоянной подачи воздуха и поддержания давления в заданных пределах при значительном изменении давления в баллоне.
Предохранительный клапан редуктора защищает полость низкого давления
аппарата от роста давления на выходе редуктора.
Капилляр служит для присоединения к редуктору сигнального устройства с
манометром. По внутреннему капилляру подается воздух под высоким давлением из
баллона, внутри шланга капилляра подается воздух под редуцированным давлени-
Лёгочный автомат предназначен для автоматической подачи воздуха газо-
дымозащитнику во внутреннюю полость маски с избыточным давлением, включе- ния дополнительной непрерывной подачи при отказе лёгочного автомата и прину- дительного выключения подачи воздуха после снятия маски.
Сигнальное устройство – приспособление, предназначенное для подачи зву-
кового сигнала работающему о том, что израсходован основной запас воздуха в бал- лоне, и остался только резервный запас.
Читайте также: Ручной балансировочный клапан msv bd dn15 003z4001 danfoss
Разъём предназначен для подсоединения к редуктору легочного автомата и
Спасательное устройство предназначено для защиты органов дыхания и зре-
ния пострадавшего при его спасении и выходе из непригодной для дыхания среды.
У спасательного устройства отсутствует в маске возможность создания избыточно-
го давления(нет пружины избыточного давления). При подключении спасаемого к
аппарату время защитного действия (как и запас воздуха в баллоне) уменьшается в 2 раза.
Манометр служит для определения запаса воздуха в баллоне и контроля за
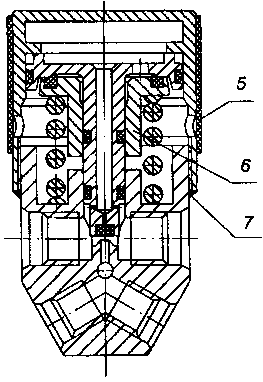
Редуктор. Редуктор (рисунок 2) предназначен для понижения давления сжатого воздуха и подачи его к легочным автоматам аппарата и спасательного устройства
Редуктор (рисунок 2) предназначен для понижения давления сжатого воздуха и подачи его к легочным автоматам аппарата и спасательного устройства.
На корпусе 1 редуктора имеется резьбовой штуцер 3 с маховичком 2 для соединения с вентилем баллона.
Встроенный предохранительный клапан 6 редуктора защищает полость низкого давления аппарата от чрезмерного роста давления на выходе редуктора.
РЕДУКТОР ОБЕСПЕЧИВАЕТ РАБОТУ БЕЗ РЕГУЛИРОВКИ В ТЕЧЕНИЕ ВСЕГО СРОКА СЛУЖБЫ И НЕ ПОДЛЕЖИТ РАЗБОРКЕ.
РЕДУКТОР ОПЛОМБИРОВАН ПЛОМБИРОВОЧНОЙ ПАСТОЙ. ПРИ НАРУШЕНИИ СОХРАННОСТИ ПЛОМБ ПРЕТЕНЗИИ К РАБОТЕ РЕДУКТОРА ПРЕДПРИЯТИЕМ-ИЗГОТОВИТЕЛЕМ НЕ ПРИНИМАЮТСЯ.
![]() | ![]() |
| 1 — корпус редуктора; 2 — маховичок; 3 — резьбовой штуцер; 4 — кольцо 9В8.684.909; 5 — манжета; 6 — предохранительный клапан; 7 — пломба. Рисунок 2 — Редуктор |
3. Назначение и устройство маски аппарата.
Маска (рисунок 3) предназначена для изоляции органов дыхания и зрения человека от окружающей среды, подачи воздуха от легочного автомата 6 в органы дыхания человека через клапаны вдоха 3, расположенные в подмасочнике 2, и удаления выдыхаемого воздуха через клапан выдоха 8 в окружающую среду.
В корпусе маски 1 имеется встроенное переговорное устройство 4, обеспечивающее возможность передачи речевых сообщений.
В конструкции маски предусмотрена возможность регулировки длины ремней оголовья 12.
1 — корпус маски; 2 — подмасочник; 3 — клапаны вдоха; 4 — переговорное устройство; 5 — гайка;
6 — легочный автомат; 7 — многофункциональная кнопка; 8 — клапан выдоха; 9 — шланг легочного автомата; 10-лямка; 11 — замок; 12 — ремни оголовья; 13 — крышка клапанной коробки;
Рисунок 3 — Маска с легочным автоматом
![]() | ||
![]() | ![]() | ![]() |
| 1 — маска; 2 — легочный автомат; 3 — многофункциональная кнопка (байпаса и отключения легочного автомата); 4 — плечевой ремень; 5 — шланг; 6 — баллон с вентилем; 7 — шланг высокого давления; 8 — свисток; 9 — корпус сигнального устройства; 10 — манометр; 11 — редуктор; 12 — кронштейн; 13 — маховичок вентиля; 14 — поясной ремень; 15 — замок подключения спасательного устройства; 16 — шланг для подключения спасательного устройства; 17 — концевой ремень; 18 — основание; 19 — ремень; 20 — замок; 21 — спасательное устройство. Рисунок 1 — Аппарат дыхательный АП «Север». |
4. Назначение и работа сигнального устройства СИЗОД.


















