- Гост 16889 71 кондуктор скальчатый консольный с пневматическим цилиндром
- Гост 16889 71 кондуктор скальчатый консольный с пневматическим цилиндром
- Гост 16889 71 кондуктор скальчатый консольный с пневматическим цилиндром
- Гост 16889 71 кондуктор скальчатый консольный с пневматическим цилиндром
- ГОСТ 16889-71 Кондукторы скальчатые консольные с пневматическим зажимом. Конструкция
- Способы доставки
- Этот ГОСТ находится в:
- Организации:
- Knee rack-and-pinion-operated jigs with air-actuated clamp. Design
Гост 16889 71 кондуктор скальчатый консольный с пневматическим цилиндром
КОНДУКТОРЫ СКАЛЬЧАТЫЕ
КОНСОЛЬНЫЕ С ПНЕВМАТИЧЕСКИМ
ЗАЖИМОМ
ИПК ИЗДАТЕЛЬСТВО СТАНДАРТОВ
КОНДУКТОРЫ СКАЛЬЧАТЫЕ КОНСОЛЬНЫЕ
С ПНЕВМАТИЧЕСКИМ ЗАЖИМОМ
Knee rack-and-pinion-operated jigs with air-actuated clamp.
1. Настоящий стандарт распространяется на скальчатые консольные кондукторы с пневматическим зажимом, предназначенные для закрепления деталей при механической обработке отверстий на сверлильных станках.
1 — корпус; 2 — плита по ГОСТ 16890, 3 — пневмораспределитель; 4 — цилиндр пневматический
Исполнение 2
7030-1167, 7030-1168, 7030-1169, 7030-1204
7030-1185, 7030-1186, 7030-1204
7030-1170, 7030-1171,7030-1172, 7030-1205
7030-1187, 7030-1188, 7030-1205
7030-1173, 7030-1174,7030-1175, 7030-1206
7030-1189, 7030-1190, 7030-1206
7030-1176, 7030-1177, 7030-1178, 7030-1207
1. Кондукторы исполнения 1 комплектуются плитами типа А, исполнения 1; исполнения 2 — плитами типа Б, исполнения 1. Комплектование другими плитами оговаривается при заказе.
2. Дополнительная комплектация кондукторов принадлежностями по ГОСТ 16896 — ГОСТ 16901 оговаривается при заказе.
3. При необходимости крепить кондуктор штифтами и болтами через отверстия в лапках корпуса допускается увеличивать размер B1.
4. При применении установочных пальцев по ГОСТ 12209 и ГОСТ 12210 на отверстиях d допускаются цековки соответствующего размера.
Пример условного обозначения кондуктора исполнения 1, размером А = 110 мм:
Кондуктор 7300-0276 ГОСТ 16889-71
(Измененная редакция, Изм. № 1, 2).
3. Допуски параллельности поверхности Г относительно поверхности Е — 0,02 мм на длине 100 мм, поверхности Б относительно поверхности Е — 0,02 мм на длине 100 мм на любой высоте расположения плиты.
(Измененная редакция, Изм. № 2).
5. Движение плиты должно быть плавным, без толчков и заеданий.
6. Маркировать: обозначения кондуктора и настоящего стандарта.
(Измененная редакция, Изм. № 2).
1. РАЗРАБОТАН И ВНЕСЕН Министерством станкостроительной и инструментальной промышленности СССР
А.З. Старосельский (руководитель темы), В.В. Андреев, В.Г. Карасева, В.Д. Поляков, Л.Б. Смирнов, Т.А. Шестакова
2. УТВЕРЖДЕН И ВВЕДЕН В ДЕЙСТВИЕ Постановлением Государственного комитета стандартов Совета Министров СССР от 13.04.71 № 729
3. ВЗАМЕН МН 3226-62, МН 3227-67
4. ССЫЛОЧНЫЕ НОРМАТИВНО-ТЕХНИЧЕСКИЕ ДОКУМЕНТЫ
Гост 16889 71 кондуктор скальчатый консольный с пневматическим цилиндром
КОНДУКТОРЫ СКАЛЬЧАТЫЕ ПОРТАЛЬНЫЕ С ПНЕВМАТИЧЕСКИМ ЗАЖИМОМ
Portal rack-and-pinion-operated jigs with air-actuated clamp. Design
1. РАЗРАБОТАН И ВНЕСЕН Министерством станкостроительной и инструментальной промышленности СССР
А.З.Старосельский (руководитель темы), В.В.Андреев, В.Г.Карасева, В.Д.Поляков, Л.В.Смирнов, Т.А.Шестакова
2. УТВЕРЖДЕН И ВВЕДЕН В ДЕЙСТВИЕ Постановлением Государственного комитета стандартов Совета Министров СССР от 13.04.71 N 729
3. ВЗАМЕН МН 3228-62, МН 3229-62
4. ССЫЛОЧНЫЕ НОРМАТИВНО-ТЕХНИЧЕСКИЕ ДОКУМЕНТЫ
Обозначение НТД, на который дана ссылка
5. Ограничение срока действия снято Постановлением Госстандарта СССР от 21.02.89 N 279
Читайте также: Ошибки пропуски во втором цилиндре
6. ПЕРЕИЗДАНИЕ (август 1999 г.) с Изменениями N 1, 2, утвержденными в июне 1980 г., феврале 1989 г. (ИУС 8-80, 5-89)
1. Настоящий стандарт распространяется на скальчатые портальные кондукторы с пневматическим зажимом, предназначенные для закрепления деталей при механической обработке отверстий на сверлильных станках.
2. Конструкция и основные размеры кондукторов должны соответствовать указанным на чертеже и в таблице.
1 — корпус; 2 — плита по ГОСТ 16893; 3 — пневмораспределитель по ГОСТ 18467;
4 — цилиндр пневматический
1. Кондукторы исполнения 1 комплектуются плитами типа А, исполнения 1; исполнения 2 — плитами типа Б, исполнения 1. Комплектование другими плитами оговаривается при заказе.
2. Дополнительная комплектация кондукторов принадлежностями по ГОСТ 16896-ГОСТ 16901 оговаривается при заказе.
Пример условного обозначения кондуктора исполнения 1, размером 320 мм:
Кондуктор 7300-0251 ГОСТ 16892-71
3. Допуски параллельности поверхности относительно поверхности — 0,02 мм на длине 100 мм, поверхности относительно поверхности — 0,02 мм на длине 100 мм на любой высоте расположения плиты.
(Измененная редакция, Изм. N 2).
4. Технические требования к пневматическому зажиму кондуктора устанавливаются по ГОСТ 18460.
5. Движение плиты должно быть плавным без толчков и заеданий.
6. Маркировать: обозначения кондуктора и настоящего стандарта.
(Измененная редакция, Изм. N 2).
Электронный текст документа
подготовлен ЗАО «Кодекс» и сверен по:
Гост 16889 71 кондуктор скальчатый консольный с пневматическим цилиндром
КОНДУКТОРЫ СКАЛЬЧАТЫЕ КОНСОЛЬНЫЕ С ПНЕВМАТИЧЕСКИМ ЗАЖИМОМ
Knee rack-and-pinion-operated jigs with air-actuated clamp.
Design
1. РАЗРАБОТАН И ВНЕСЕН Министерством станкостроительной и инструментальной промышленности СССР
А.З.Старосельский (руководитель темы), В.В.Андреев, В.Г.Карасева, В.Д.Поляков, Л.Б.Смирнов, Т.А.Шестакова
2. УТВЕРЖДЕН И ВВЕДЕН В ДЕЙСТВИЕ Постановлением Государственного комитета стандартов Совета Министров СССР от 13.04.71 N 729
3. ВЗАМЕН МН 3226-62, МН 3227-67
4. ССЫЛОЧНЫЕ НОРМАТИВНО-ТЕХНИЧЕСКИЕ ДОКУМЕНТЫ
Обозначение НТД, на который дана ссылка
5. Ограничение срока действия снято Постановлением Госстандарта СССР от 21.02.89 N 277
6. ПЕРЕИЗДАНИЕ (август 1999 г.) с Изменениями N 1, 2, утвержденными в июне 1980 г., феврале 1989 г. (ИУС 8-80, 5-89)
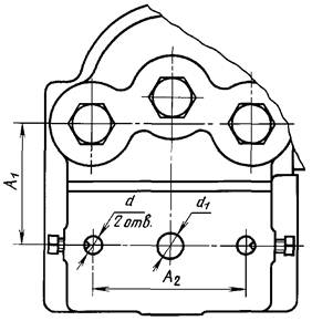
1. Настоящий стандарт распространяется на скальчатые консольные кондукторы с пневматическим зажимом, предназначенные для закрепления деталей при механической обработке отверстий на сверлильных станках.
2. Конструкция и основные размеры кондукторов должны соответствовать указанным на чертеже и в таблице.
2 — плита по ГОСТ 16890; 3 — пневмораспределитель; 4 — цилиндр пневматический
7030-1167, 7030-1168, 7030-1169, 7030-1204
7030-1185, 7030-1186, 7030-1204
7030-1170, 7030-1171, 7030-1172, 7030-1205
7030-1187, 7030-1188, 7030-1205
7030-1173, 7030-1174, 7030-1175, 7030-1206
7030-1189, 7030-1190, 7030-1206
7030-1176, 7030-1177, 7030-1178, 7030-1207
7030-1191, 7030-1192, 7030-1207
1. Кондукторы исполнения 1 комплектуются плитами типа А, исполнения 1; исполнения 2 — плитами типа Б, исполнения 1. Комплектование другими плитами оговаривается при заказе.
2. Дополнительная комплектация кондукторов принадлежностями по ГОСТ 16896 — ГОСТ 16901 оговаривается при заказе.
3. При необходимости крепить кондуктор штифтами и болтами через отверстия в лапках корпуса допускается увеличивать размер
Читайте также: Главный тормозной цилиндр для девятки
4. При применении установочных пальцев по ГОСТ 12209 и ГОСТ 12210 на отверстиях допускаются цековки соответствующего размера.
Пример условного обозначения кондуктора исполнения 1, размером 110 мм:
Кондуктор 7300-0276 ГОСТ 16889-71
(Измененная редакция, Изм. N 1, 2).
3. Допуски параллельности поверхности Г относительно поверхности Е — 0,02 мм на длине 100 мм, поверхности Б относительно поверхности Е — 0,02 мм на длине 100 мм на любой высоте расположения плиты.
(Измененная редакция, Изм. N 2).
4. Технические требования к пневматическому зажиму кондуктора устанавливаются по ГОСТ 18460.
5. Движение плиты должно быть плавным, без толчков и заеданий.
6. Маркировать: обозначения кондуктора и настоящего стандарта.
(Измененная редакция, Изм. N 2).
Электронный текст документа
подготовлен ЗАО «Кодекс» и сверен по:
Гост 16889 71 кондуктор скальчатый консольный с пневматическим цилиндром
КОНДУКТОРЫ СКАЛЬЧАТЫЕ
КОНСОЛЬНЫЕ С ПНЕВМАТИЧЕСКИМ
ЗАЖИМОМ
ИПК ИЗДАТЕЛЬСТВО СТАНДАРТОВ
КОНДУКТОРЫ СКАЛЬЧАТЫЕ КОНСОЛЬНЫЕ
С ПНЕВМАТИЧЕСКИМ ЗАЖИМОМ
Knee rack-and-pinion-operated jigs with air-actuated clamp.
1. Настоящий стандарт распространяется на скальчатые консольные кондукторы с пневматическим зажимом, предназначенные для закрепления деталей при механической обработке отверстий на сверлильных станках.
1 — корпус; 2 — плита по ГОСТ 16890, 3 — пневмораспределитель; 4 — цилиндр пневматический
Исполнение 2
7030-1167, 7030-1168, 7030-1169, 7030-1204
7030-1185, 7030-1186, 7030-1204
7030-1170, 7030-1171,7030-1172, 7030-1205
7030-1187, 7030-1188, 7030-1205
7030-1173, 7030-1174,7030-1175, 7030-1206
7030-1189, 7030-1190, 7030-1206
7030-1176, 7030-1177, 7030-1178, 7030-1207
1. Кондукторы исполнения 1 комплектуются плитами типа А, исполнения 1; исполнения 2 — плитами типа Б, исполнения 1. Комплектование другими плитами оговаривается при заказе.
2. Дополнительная комплектация кондукторов принадлежностями по ГОСТ 16896 — ГОСТ 16901 оговаривается при заказе.
3. При необходимости крепить кондуктор штифтами и болтами через отверстия в лапках корпуса допускается увеличивать размер B1.
4. При применении установочных пальцев по ГОСТ 12209 и ГОСТ 12210 на отверстиях d допускаются цековки соответствующего размера.
Пример условного обозначения кондуктора исполнения 1, размером А = 110 мм:
Кондуктор 7300-0276 ГОСТ 16889-71
(Измененная редакция, Изм. № 1, 2).
3. Допуски параллельности поверхности Г относительно поверхности Е — 0,02 мм на длине 100 мм, поверхности Б относительно поверхности Е — 0,02 мм на длине 100 мм на любой высоте расположения плиты.
(Измененная редакция, Изм. № 2).
5. Движение плиты должно быть плавным, без толчков и заеданий.
6. Маркировать: обозначения кондуктора и настоящего стандарта.
(Измененная редакция, Изм. № 2).
1. РАЗРАБОТАН И ВНЕСЕН Министерством станкостроительной и инструментальной промышленности СССР
А.З. Старосельский (руководитель темы), В.В. Андреев, В.Г. Карасева, В.Д. Поляков, Л.Б. Смирнов, Т.А. Шестакова
2. УТВЕРЖДЕН И ВВЕДЕН В ДЕЙСТВИЕ Постановлением Государственного комитета стандартов Совета Министров СССР от 13.04.71 № 729
3. ВЗАМЕН МН 3226-62, МН 3227-67
4. ССЫЛОЧНЫЕ НОРМАТИВНО-ТЕХНИЧЕСКИЕ ДОКУМЕНТЫ
ГОСТ 16889-71
Кондукторы скальчатые консольные с пневматическим зажимом. Конструкция
Купить ГОСТ 16889-71 — бумажный документ с голограммой и синими печатями. подробнее
Читайте также: Максимальный выход штока тормозного цилиндра 2эс6
Распространяем нормативную документацию с 1999 года. Пробиваем чеки, платим налоги, принимаем к оплате все законные формы платежей без дополнительных процентов. Наши клиенты защищены Законом. ООО «ЦНТИ Нормоконтроль»
Наши цены ниже, чем в других местах, потому что мы работаем напрямую с поставщиками документов.
Способы доставки
- Срочная курьерская доставка (1-3 дня)
- Курьерская доставка (7 дней)
- Самовывоз из московского офиса
- Почта РФ
Распространяется на скальчатые консольные кондукторы с пневматическим зажимом, предназначенные для закреления деталей при механической обработке отверстий на сверлильных станках.
Ограничение срока действия снято: Постановление Госстандарта № 277 от 21.02.89
Этот ГОСТ находится в:
Организации:
Knee rack-and-pinion-operated jigs with air-actuated clamp. Design
Чтобы бесплатно скачать этот документ в формате PDF, поддержите наш сайт и нажмите кнопку:
КОНДУКТОРЫ СКАЛЬЧАТЫЕ
КОНСОЛЬНЫЕ С ПНЕВМАТИЧЕСКИМ
ЗАЖИМОМ
ИПК ИЗДАТЕЛЬСТВО СТАНДАРТОВ
КОНДУКТОРЫ СКАЛЬЧАТЫЕ КОНСОЛЬНЫЕ
С ПНЕВМАТИЧЕСКИМ ЗАЖИМОМ
Knee rack-and-pinion-operated jigs with air-actuated clamp.
1. Настоящий стандарт распространяется на скальчатые консольные кондукторы с пневматическим зажимом, предназначенные для закрепления деталей при механической обработке отверстий на сверлильных станках.
2. Конструкция и основные размеры кондукторов должны соответствовать указанным на чертеже и в таблице.
1 — корпус; 2 — плита по ГОСТ 16890, 3 — пневмораспределитель; 4 — цилиндр пневматический
7030-1167, 7030-1168, 7030-1169, 7030-1204
7030-1185, 7030-1186, 7030-1204
7030-1170, 7030-1171,7030-1172, 7030-1205
7030-1187, 7030-1188, 7030-1205
7030-1173, 7030-1174,7030-1175, 7030-1206
7030-1189, 7030-1190, 7030-1206
7030-1176, 7030-1177, 7030-1178, 7030-1207
1. Кондукторы исполнения 1 комплектуются плитами типа А, исполнения 1; исполнения 2 — плитами типа Б, исполнения 1. Комплектование другими плитами оговаривается при заказе.
2. Дополнительная комплектация кондукторов принадлежностями по ГОСТ 16896 — ГОСТ 16901 оговаривается при заказе.
3. При необходимости крепить кондуктор штифтами и болтами через отверстия в лапках корпуса допускается увеличивать размер B1.
4. При применении установочных пальцев по ГОСТ 12209 и ГОСТ 12210 на отверстиях d допускаются цековки соответствующего размера.
Пример условного обозначения кондуктора исполнения 1, размером А = 110 мм:
Кондуктор 7300-0276 ГОСТ 16889-71
(Измененная редакция, Изм. № 1, 2).
3. Допуски параллельности поверхности Г относительно поверхности Е — 0,02 мм на длине 100 мм, поверхности Б относительно поверхности Е — 0,02 мм на длине 100 мм на любой высоте расположения плиты.
(Измененная редакция, Изм. № 2).
4. Технические требования к пневматическому зажиму кондуктора устанавливаются по ГОСТ 18460.
5. Движение плиты должно быть плавным, без толчков и заеданий.
6. Маркировать: обозначения кондуктора и настоящего стандарта.
(Измененная редакция, Изм. № 2).
1. РАЗРАБОТАН И ВНЕСЕН Министерством станкостроительной и инструментальной промышленности СССР
А.З. Старосельский (руководитель темы), В.В. Андреев, В.Г. Карасева, В.Д. Поляков, Л.Б. Смирнов, Т.А. Шестакова
2. УТВЕРЖДЕН И ВВЕДЕН В ДЕЙСТВИЕ Постановлением Государственного комитета стандартов Совета Министров СССР от 13.04.71 № 729
3. ВЗАМЕН МН 3226-62, МН 3227-67
4. ССЫЛОЧНЫЕ НОРМАТИВНО-ТЕХНИЧЕСКИЕ ДОКУМЕНТЫ















