Команда на включение компрессора А10 происходит путем перевода переключателя «Компрессор» SA28 на пульте машиниста в положение «Вкл». Цепи управления компрессором представлены на рисунке 6.9. Питание компрессора осуществляется от автоматического выключателя SF2.
Включение компрессора возможно при выполнении следующих условий:
— включен быстродействующий выключатель;
— системой МПСУ и Д получен сигнал «Готовность» от компрессора А10 по цепи 373.
При выполнении всех условий МПСУ и Д подает управляющее напряжение на контактор К11, который своими силовыми контактами замыкает цепь питания двигателя компрессора М11.
При значении давления в питательной магистрали ниже значения 0,75 МПа (7,5 кгс/см2) система МПСУ и Д подает управляющее напряжение на промежуточное реле KL3 по цепи 371. Блокировочный контакт KL3 создает цепь питания впускного клапана компрессора, через который происходит нагнетание воздуха в главные резервуары.
При достижении давления в питательной магистрали значения 0,9 МПа (9 кгс/см2) МПСУ и Д снимает управляющее напряжение с промежуточного реле KL3.
Рисунок 6.9 – Цепи управления компрессором
Снятие питания с двигателя компрессора происходит при переводе переключателя «Компрессор» SA28 в положение «Выкл».
Для принудительного нагнетания воздуха в главные резервуары предназначена кнопка «Компрессор принудительно» SB8 на пульте машиниста. При ее нажатии система МПСУ и Д подает управляющее напряжение на промежуточное реле KL3, создавая цепь для питания впускного клапана. Кнопка SB8 выполнена без фиксации и при ее отпускании питание с реле KL3 снимается.
Цепи управления вспомогательным компрессором
Вспомогательный компрессор предназначен для создания воздушного давления в пневмосистеме токоприемника с целью его поднятия. Питание вспомогательного компрессора осуществляется от автоматического выключателя SF3.
Команда на включение вспомогательного компрессора М21 происходит путем нажатия кнопки «Вспомогательный компрессор» SB1 на пульте машиниста. При давлении воздуха в цепях управления пневмосисистемы токоприемника ниже 0,5 МПа(5 кгс/см2) система МПСУ и Д подает управляющее напряжение на промежуточный контактор КМ2 по цепи 375. Блокировочные контакты КМ2 создают цепь питания двигателя вспомогательного компрессора.
При достижении значения давления 0,6 МПа(6 кгс/см2) напряжение МПСУ и Д снимает управляющее напряжение с промежуточного контактора KМ2.
Цепи управления тормозами
Цепи управления тормозами представляют собой управление электропневматическими клапанами отпуска тормоза КР22, блокировкой тормоза КР23 и срыва рекуперации КР24. Управление электропневматическими клапанами КР22, КР23, КР24 осуществляет система МПСУ и Д. Цепи управления тормозами представлены на рисунке 6.10. Питание клапанов управления тормозами осуществляется от автоматического выключателя SF4.
Управление клапаном КР22 осуществляется нажатием кнопки SB11 «Отпуск тормоза». При нажатии кнопки SB11 система МПСУ и Д подает управляющее напряжение на клапан КР22 по цепи 381. При этом сжатый воздух тормозных цилиндров ТЦ сообщается с атмосферой. Кнопка SB11 выполнена без фиксации и при ее отпускании питание с клапана КР22 снимается.
Управление клапаном КР23 осуществляется при переходах из режима пневматического торможения в электродинамическое и обратно. При электродинамическом торможении система МПСУ и Д подает управляющее напряжение на клапан КР23 по цепи 383. При этом блокируется импульсный трубопровод БВР и реле давления сообщается с атмосферой. Напряжение с клапана КР23 снимается при переходе из электродинамического торможения в пневматическое. Электродинамическое торможение возможно только при выключенном быстродействующем выключателе. Для этого в цепь питания клапана КР23 последовательно включен блокировочный контакт быстродействующего выключателя QF1.
При срыве электрического торможения электрический тормоз замещается пневматическим с наполнением тормозных цилиндров (ТЦ) до давления 0,13…0,14 МПа (1,3…1,4 кгс/см2), если тормоза состава поезда не были приведены в действие. Если на момент срыва электрического торможения, тормоза состава поезда были заторможены, ТЦ наполняются до давления равного давлению в ТЦ вагона. В случае срыва электрического торможения КР22 и КР23 теряют питание. Система МПСУ и Д подает управляющее напряжение на включение электропневматического клапана КР24 по цепи 384.
Клапан КР24 пропускает воздух из питательного резервуара к реле давления. При этом открывается путь сжатому воздуху из питательной магистрали к тормозным цилиндрам. Выключение клапана КР24 производится при нажатии кнопок «Выбег» SB10 или «Отпуск тормоза» SB11.
Клапан запасного резервуара КР25 предназначен для возможности поднятия токоприемника при отсутствии сжатого воздуха в главных резервуарах. Нормально клапан KP25 находится постоянно под напряжением на протяжении всего времени эксплуатации, что позволяет иметь запас воздуха объемом 55 литров в специальном резервуаре.
Цепь датчика КР21 предназначена для сигнализации и выдачи сигнала в систему МПСУ и Д для разбора цепей тягового режима или электрического торможения при нарушении целостности тормозной магистрали (ТМ) поезда. КР21-1 – микро выключатель камеры дополнительной разрядки, КР21-2 – микро выключатель камеры тормозных цилиндров.
Рисунок 6.10 – Цепи управления тормозами
В случае обрыва ТМ в хвосте поезда, воздухораспределитель на торможение не срабатывает. При разрядке ТМ на величину давления 20 кПа (0,2 кгс/см2) замыкается контакт КР21-1. При этом создается цепь питания промежуточного реле KL6. Одним контактом реле KL6 разрывает цепь «Выбег», другим контактом шунтирует КР21-1. Это обеспечивает «запоминание» полученного сигнала обрыва даже при кратковременном замыкании контактов КР21-1. Светодиод VD183 сигнализирует о нарушении целостности ТМ на ПУ.
По команде «Выбег» система МПСУ и Д разбирает схему тягового режима или электрического торможения. При сигнале обрыва и замедлении движения поезда машинист должен произвести торможение, при этом, давлением воздуха из канала тормозного цилиндра микро выключатель КР21-2 разомкнет свою блокировку в цепи промежуточного реле KL6, а оно в свою очередь замкнет блокировку в цепи «Выбег», с одновременным погасанием светодиода VD183.
Папиллярные узоры пальцев рук — маркер спортивных способностей: дерматоглифические признаки формируются на 3-5 месяце беременности, не изменяются в течение жизни.
НПП Ковинт
Сайт о компрессорном оборудовании для промышленного применения
Схема управления винтового компрессора
В этой статье мы кратко рассмотрим состав схемы управления работой винтового компрессора.
Читайте также: Запчасти для компрессоров ремеза в екатеринбурге
Очень упрощенно винтовой компрессор можно представить следующим образом:
Упрощенная схема компрессора
Как правило, в винтовом компрессоре есть всего три компонента, которые требуют внешнего управления своей работой:
- главный двигатель;
- двигатель вентилятора;
- всасывающий клапан (регулятор всасывания).
Давайте попробуем разобраться, каким образом может осуществляться это управление.
Вообще систему управления работой компрессора можно разделить на силовую часть и цепи контроля, индикации и управления. Тогда приведенная выше упрощенная схема может быть представлена следующим образом:
Более развернутая схема компрессора
Силовая часть содержит устройства, через которые подается электропитание на главный двигатель и двигатель вентилятора компрессора. В качестве этих устройств наиболее часто применяются электромагнитные контакторы, устройства плавного пуска (УПП) и частотные преобразователи.
Устройства плавного пуска:
Устройства плавного пуска
Кроме того, силовая часть схемы управления содержит защитные устройства, защищающие главный двигатель и двигатель вентилятора – тепловые и термисторные (для контроля температуры обмоток двигателя по сопротивлению встроенных в них термисторов) реле, автоматические выключатели. Состояние этих устройств контролируется цепями контроля, управления и индикации.
Автоматический выключатель защиты двигателя вентилятора:
Автоматический выключатель защиты двигателя вентилятора
Цепи контроля, управления и индикации (ЦКУИ) по своему составу очень разнообразны. Назначение этих цепей следует из их названия:
- контроль рабочих параметров компрессора и состояния защитных устройств;
- управление силовой частью;
- индикация значений рабочих параметров, причин возможных аварийных остановок компрессора, часов его наработки и некоторых других.
На работающем винтовом компрессоре обязателен контроль нескольких параметров:
- давление внутри масляного резервуара;
- температуру воздушно-масляной смеси на выходе из винтового блока;
- давление сжатого воздуха на выходе компрессора (в пневмосети);
- состояние защитных устройств силовой части схемы управления.
Дополнительно могут контролироваться:
- температура сжатого воздуха на входе и выходе компрессора;
- падение давления на входном фильтре, сепараторе и масляном фильтре.
Следует отметить, что такой важный параметр, как уровень масла в масляном резервуаре компрессора контролируется, как правило, визуально и только через некоторое время после остановки агрегата. Дело в том, что при работе компрессора из-за непрерывной циркуляции масла его уровень может колебаться в довольно широких пределах.
Уровнемер на масляном резервуаре компрессора
В зависимости от сложности схемы управления работой компрессора в качестве контрольных устройств могут применяться как механические (реле давления и температуры), так и электронные приборы – датчики давления и температуры с унифицированным выходным электрическим сигналом, термопары, термометры сопротивления.
БЛОГ ЭЛЕКТРОМЕХАНИКА
Студенческий блог для электромеханика. Обучение и практика, новости науки и техники. В помощь студентам и специалистам
29.10.2015
Схемы простого и автоматизированного управления электроприводами насосов, вентиляторов и компрессоров
Электроприводами насосов, вентиляторов и компрессоров, работающих на переменном токе в основном являются асинхронные короткозамкнутые электродвигатели. При малой и средней мощности эти двигатели запускаются в работу прямым включением в сеть, без каких-либо ограничивающих устройств.
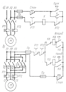
На рис. 1, а показана схема электропривода прямого пуска асинхронного электродвигателя с помощью нереверсивного магнитного пускателя. Магнитный пускатель включает в себя контактор К, кнопки «Стоп», «Пуск», тепловые реле РТ1, РТ2 и предохранители Пр. При нажатии на кнопку «Пуск» питание с линейного провода Л3 через предохранитель, кнопку «Стоп» и нажатую кнопку «Пуск» поступает на катушку контактора К. Контактор К оказывается включенным на линейное напряжение фаз Л1 и Л3. Он срабатывает и своими главными контактами К подключает двигатель на трехфазное питание Л1, Л2, Л3.
Блок-контакт К шунтирует кнопку «Пуск», которую теперь можно отпустить; цепь питания катушки К не будет разомкнутой (Л3 — Пр — «Стоп» — К — РТ2 — катушка К — РТ1 — Пр—Л1).
Для остановки электродвигателя достаточно нажать на кнопку «Стоп». При этом контактор К теряет питание, размыкает свои контакты и отключает электродвигатель от сети.
При перегрузках в цепи двигателя возникает повышенный ток, который проходит через тепловые реле РТ1, РТ2. Биметаллическая пластинка реле изгибается и размыкает контакт РТ1 (РТ2) в цепи катушки контактора К, что приводит к отключению электродвигателя. После остывания реле РТ1 его контакты в цепи катушки К замыкаются, но для пуска двигателя нужно нажать кнопку «Пуск».
Так работают максимальная защита и нулевое блокирование, исключающие самопроизвольный повторный пуск.
При чрезмерном снижении напряжения питания контактор К не в состоянии удержать свой якорь притянутым. Отпускание якоря приводит к отключению электродвигателя. Так срабатывает минимальная защита.
На рис. 1, б показана схема электропривода переменного тока, управляемая с помощью реверсивного магнитного пускателя.
При нажатии на кнопку «Вперед» срабатывает контактор КВ и его главные контакты включают двигатель на фазы: Л1—С1, Л2— С2, Л3—С3. В это время блок-контакт КВ в цепи контактора КН размыкается, и нажатие на кнопку «Назад» никаких изменений в работе электропривода не произведет. Для остановки электродвигателя достаточно нажать на кнопку «Стоп».
При пуске электродвигателя в противоположную сторону (кнопкой «Назад») срабатывает контактор КН, его главные контакты изменяют фазировку включения двигателя: Л1—С3, Л2—С2 (без изменений), Л3—С1. Это обеспечивает реверс. Схемы защиты устроены так же, как в схеме нереверсивного пускателя.
Для уменьшения пусковых токов и получения более плавного процесса пуска применяют схемы пуска с понижением напряжения.
На рис. 2 показаны схемы главного тока, обеспечивающие более низкое напряжение на двигатель в момент пуска с последующим переключением на полное напряжение сети. Цепи управления не показаны.
При замыкании контактов К (см. рис. 2, а) начинается пуск с введенным пусковым резистором Rп. Двигатель получает пониженное напряжение. После разгона размыкаются контакты К и замыкаются контакты ускорения КУ — теперь двигатель включен на полное напряжение.
При использовании автотрансформаторов (см. рис. 2, б) в момент пуска (замкнуты контакты К) двигатель получает также пониженное напряжение. По истечении некоторого времени контакты К размыкаются и замыкаются контакты КУ.
Читайте также: Замена подшипников компрессора кондиционера туарег
В рассмотренных схемах переключение контактов К и КУ осуществляется автоматически, реже—ручным управлением.
Электродвигатели постоянного тока менее приспособлены к пуску (прямым включением в цепь питания. Такой пуск допустим только для электродвигателей мощностью не более 1 кВт. Для пуска электродвигателей большей мощности применяют пусковые (рис. 3) и пускорегулировочные реостаты.
С маховичком реостата связана контактная щетка КЩ. Пуск начинается после перемещения контактной щетки на вывод 1. При этом для катушки контактора К обеспечена цепь питания: Л1 — вывод 1 — щетка КЩ — контактный сегмент КС1 — катушка К — контакт РМ — Л2. Контактор К срабатывает, и теперь он обеспечивает себе цепь питания независимо от положения контактной щетки: Л1 — замкнувшийся контакт К — резистор экономический Rэ, — катушка К — контакт РМ — Л2. Из схемы следует, что в цепь контактора К включен резистор Rэ, он уменьшает напряжение на катушке К и тем самым уменьшает ее нагрев (после срабатывания контактора напряжение на нем можно понизить).
После срабатывания контактора К начинается пуск электродвигателя. Цепь питания якоря: Л1 — контакт К — сегмент КС2 — пусковой резистор Rп— катушка реле максимального тока РМ — якорь двигателя М — обмотка СОВ — Л2. Цепь питания обмотки возбуждения: Л1—К— ШОВ — Л2. Полностью включенный резистор Rп в цепь якоря в момент пуска обеспечивает плавность трогания электродвигателя. Для вывода электродвигателя на номинальную частоту вращения следует контактную щетку КЩ плавно перемещать вправо (положения 2, 3, 4, 5 и 6). При этом величина пускового резистора Rп, введенного в цепь якоря, постепенно уменьшается до нуля, а частота вращения двигателя растет.
После окончания процесса пуска цепь якоря: Л1—К—КС2—КЩ — вывод 6 — РМ—М—СОВ— Л2. Резистор Rп не предназначен для длительной работы, поэтому нельзя контактную щетку КЩ оставлять в промежуточном положении, ее следует плавно повернуть в крайнее правое положение.
Пусковой реостат имеет максимальную защиту по току нагрузки. При перегрузках двигателя по цепи якоря (и, конечно, по катушке РМ) протекает недопустимый ток. Этот ток заставляет сработать реле максимального тока РМ, его контакт в цепи контактора К разомкнется.
Контактор К отпустит свой якорь, и его разомкнувшийся контакт К отключит электродвигатель от питания. Повторный пуск электродвигателя возможен только после постановки КЩ в положение 1. Таким образом исключается возможность самопроизвольного пуска при снятии перегрузки и возврате РМ в исходное положение. Эта защита называется нулевой (или нулевым блокированием).
Контактор К обеспечивает минимальную защиту по напряжению. При снижении напряжения ниже установленной нормы контактор К отпускает свой якорь и отключает электродвигатель.
Электродвигатели насосов и вентиляторов обычно работают в длительном режиме, и реле РМ настраивается на ток срабатывания Iср= 1,25 Iном.
Схемы автоматизированного управления
На рис. 4 показана схема управления электроприводом поршневого пожарно-балластного насоса. Привод выполнен с помощью электродвигателя со смешанным возбуждением постоянного тока и магнитной станции управления типа СУ-6011-5121. В магнитную станцию входит вся электроаппаратура схемы, кроме резисторов R1—R4. Мощность электродвигателя 29,5 кВт, пуск автоматизирован. Для уменьшения пусковых токов в режиме пуска в цепь якоря включены резисторы R1—R4.
При подаче питания на схему, еще до начала работы двигателя, срабатывают электромагнитные реле времени РУ1, РУ2, РУ3 (реле ускорения). Их замыкающие контакты РУ1, РУ2, РУ3 разомкнутся. Все контакторы ускорения У1, У2, У3 обесточены, их контакты разомкнуты, поэтому в цель якоря включены пусковые резисторы R1—R4.
При нажатии на кнопку КнП получают питание линейные контакторы Л1, Л2 и своими контактами подсоединяют электродвигатель к сети. Начинается разгон через ограничивающие резисторы R1—R4. Одновременно блок-контакт Л1 размыкается и обесточивает реле РУ1. Но реле не сразу отпускает свой якорь, это произойдет после истечения выдержки времени.
Отпущенный якорь реле РУ1 замыкает свой контакт РУ1 в цепи контактора ускорения У1, последний включается и своим контактом шунтирует резисторы R1—R2; теперь двигатель разгоняется на резисторах R2—R4. Одновременно контактор У1 своим блок-контактом отключает реле РУ2. После реализации его выдержки времени это реле отпускает свой якорь и замыкает свой контакт РУ2 — включается контактор У2 и резистор R2—R3 выводится из цепи якоря электродвигателя. Разгон продолжается на резисторах R3 — R4. Одновременно контактор У2 размыкает свой блок-контакт в цепи катушки РУ3. Это реле после окончания выдержки времени отпускает свой якорь и замыкает контакт РУ3 — включается контактор У3. Теперь все резисторы зашунтированы и двигатель вышел на номинальную частоту вращения.
Схемой предусмотрено дальнейшее увеличение скорости путем ослабления магнитного потока. Если ползунок реостата возбуждения R передвигать, то в цепь обмотки ШОВ будет вводиться резистор. Ток и магнитный поток электродвигателя уменьшаются, а частота вращения увеличивается. С ползунком реостата Rв связан конечный выключатель в цепи КнП. Причем этот конечный выключатель замкнут только при полностью зашунтированном резисторе Rв (номинальная чистота вращения). При движении ползунка вправо Rв сразу размыкается, но это на работу двигателя не влияет, так как контакторы Л1, Л2 получают питание через экономический резистор Rэ1 и блок-контакт Л2.
Для остановки двигателя нажимают на кнопку КнС. Повторный пуск кнопкой КнП возможен при замкнутом в ее цепи контакте Rв, что соответствует положению ползунка Rв справа. Так исключается возможность пуска при ослабленном потоке (сразу на повышенную скорость).
При перегрузках реле максимального тока РМ срабатывает и своим контактом выключает Л1, Л2.
На рис. 5 показана схема автоматического управления электродвигателем насоса в функции давления. По такой схеме выполняют электроприводы санитарных и других насосов, которые должны включаться при снижении уровня жидкости в цистернах и выключаться при их наполнении. Электродвигатель насоса — асинхронный, имеет небольшую мощность, поэтому его пуск прямой. Схема предусматривает ручное и автоматическое управление.
Переключение осуществляется одним переключателем, имеющим контакты Kl, К2, К3. При ручном управлении эти контакты находятся в нижнем положении. Нажатием на кнопку КнП включают контактор Л и запускают двигатель. При автоматическом управлении контакты K1, К2, К3 переключателя переводятся в верхнее (на схеме) положение. На рис. 4 положение переключателя соответствует автоматическому управлению.
Читайте также: Ремонт компрессора кондиционера тойота королла е120
При снижении уровня жидкости в расходной цистерне ниже минимального замыкается реле РДmin. Получает питание цепь линейного контактора: Л2—К1—РДmin—РДmax—К3—РТ1—Л—РТ2—Пр—Л3. Насос начинает работать, уровень жидкости повышается, и через некоторое время контакт РДmin размыкается. Однако электродвигатель из-за этого не отключится — линейный контактор Л после срабатывания получит питание через собственный блок-контакт, помимо контакта РДmin.
При достижении заданного уровня реле снова сработает и разомкнет контакт РДmax. Электродвигатель в связи с этим остановится, а схема управления возвратится в исходное состояние, будучи готовой к новому циклу работы.
Для управления применяют двухпозиционное реле давления с контактами РДmin, РДmax или поплавковое реле. При перегрузках в режиме ручного или автоматического управления срабатывает одно из тепловых реле РТ1 или РТ2, что приводит к отключению электродвигателя.
Схема управления автоматизированного электропривода копрессора
На рис. 6 показана схема управления автоматизированного электропривода компрессора. Схема предусматривает управления: ручное — кнопками управления КУП и КУС; автоматическое — в функции давления в баллонах.
При ручном управлении переключатель П ставится в положение «Руч.». После замыкания выключателя управления В получает питание катушка реле Р1. Контакт этого реле подает питание на электромагнитный клапан ЭВМ, который открывает доступ охлаждающей воде в зарубашечное пространство компрессора. Вторым замкнувшимся контактом Р1 включается электромагнитный клапан продувания ЭМП. В это время охлаждающая вода создала нужное давление (1,5 кгс/см 2 ) в охлаждающей системе компрессора и срабатывает реле давления воды РДВ — его контакт замыкается в цепи контактора К. Компрессор еще не работает, но уже охлаждается водой, а его цилиндры через открытые клапаны продувания ЭМП сообщены с окружающей атмосферой.
При нажатии на кнопку КУП срабатывает контактор К и начинает работать компрессор и через клапаны ЭМП выдувает скопившийся конденсат. Одновременно с началом вращения компрессора блок-контакт К включает реле времени РВ1, которое по истечению 15 с размыкает свой контакт в цепи клапана продувания ЭМП. Клапан закрывается, и продувание прекращается — теперь компрессор нагнетает воздух в баллоны.
Второй контакт РВ1 через 15 с включает сигнальное реле Р2, его замкнувшийся контакт может вызвать срабатывание тревожной сигнализации, но к этому времени насос, навешенный на компрессор, успевает создать нужное давление в системе смазки, и реле давления масла РДМ размыкается, обрывая цепь тревожной сигнализации. Если же давление в системе смазки компрессора упадет, то замкнется контакт РДМ, создастся замкнутая цепь тревожной сигнализации и сработает звонок (на схеме не показан).
При автоматическом управлении переключатель П переводится в положение «Авт.». При снижении давления воздуха в баллонах до 6 кгс/см 2 замыкается контакт реле давления РДmin и через замкнутый контакт РДmax запитывается реле Р1, после чего схема срабатывает на пуск так же, как при ручном управлении, только вместо кнопки КУП замыкается контакт Р1.
При повышении давления воздуха в баллонах выше 6 кгс/см 2 контакт РДmin размыкается, но реле Р1 продолжает получать питание через свой блок-контакт Р1, шунтирующий реле РДmin. При достижении давления воздуха в баллонах 8 кгс/см 2 размыкается контакт реле РДmax, что приводит к остановке компрессора. При падении давления ниже 8 кгс/см 2 контакт РДmax замыкается, но пуск компрессора произойдет только после того, как снизится давление воздуха до 6 кгс/см 2 и замкнется контакт реле РДmin.
Cхема электропривода холодильной фреоновой установки
На рис. 7 показана схема электропривода холодильной фреоновой установки системы кондиционирования воздуха. Электродвигатели насосов охлаждающего M1 и рассольного М2 запускают вручную. Для этого включают автоматы управления АУ1, АУ2 и замыкают кнопки пуска КнП1, КнП2. Срабатывают контакторы ВК1, ВК2, двигатели начинают работать.
Одновременно включаются блокировочные реле Р, Р1, замыкаются их контакты в схеме пуска компрессора.
Если не работает охлаждающий или рассольный насос, то пуск компрессора невозможен (контакт Р или Р1 разомкнут в цепи контактора пуска компрессора ВК3).
После запуска двигателя M1 должны установиться нормальные параметры рассола и охлаждающей воды, о чем сигнализируют контакты: ДТР (датчик температуры рассола); РР (реле расхода рассола); РД (реле давления, размыкает свой контакт в том случае, если давление в магистрали слишком понизится или повысится).
После включения автомата компрессора АУ3 при нормальных параметрах рассола и охлаждающей воды включаются защитные реле Р3, Р4, Р5, их контакты в цепи промежуточного реле Р6 замыкаются. Теперь нажатием на кнопку КВ можно включить реле Р6. Его контакт замкнется в цепи контактора ВК3. Только теперь возможен пуск компрессора вручную.
Для этого переключатель П переводится в положение «Руч.» и нажатием на кнопку КнП3 включается контактор ВК3, и начинает работать компрессор. Одновременно срабатывает реле Р7, которое своим контактом запитывает соленоидный вентиль СВ — происходит сообщение полости компрессора с магистралью.
При автоматическом режиме работы переключатель П переводится в положение «Авт.» Теперь пуск компрессора произойдет при срабатывании реле Р2. В цепь этого реле включен датчик оперативной температуры ДОТ, установленный на тепловой цистерне. Если температура в помещениях поднимается выше установленной, замыкается контакт ДОТ, срабатывает реле Р2 и происходит пуск компрессора. При снижении температуры до установленной ДОТ размыкается и компрессор выключается.
При перегрузке любого из двигателей схемы срабатывают тепловые реле РТ1—РТ6, что приводит к остановке электродвигателей. При автоматическом режиме работы, как и при ручном, в случае недопустимого изменения параметров рассола или охлаждающей воды теряет питание одно из реле Р3, Р4 или Р5, выключается реле Р6 и пуск компрессора невозможен.
Рассмотренная схема, по сравнению с действительной, упрощена, не показаны элементы сигнализации.
- Свежие записи
- Чем отличается двухтактный мотор от четырехтактного
- Сколько масла заливать в редуктор мотоблока
- Какие моторы бывают у стиральных машин
- Какие валы отсутствуют в двухвальной кпп
- Как снять стопорную шайбу с вала

























