Что такое редуктор для газового баллона, его функции, принцип работы, разновидности и области применения. Краткая техническая характеристика наиболее востребованных видов и примерные цены. Обо всем этом данная статья.
Редуктор для газового баллона – это устройство, предназначенное для снижения или поддержания заданного давления при подаче газа из баллона.
- Как работают редукторы
- Виды редукторов
- Характеристика
- Оглавление
- Оборудование и аппаратура для кислородной резки
- Редуктор назначение и принцип действия.
- Классификация газовых редукторов.
- По принципу действия.
- Присоединение редуктора к баллону.
- По внешнему виду.
- По пропускной способности и рабочему давлению.
- По количеству ступеней редуцирования.
Как работают редукторы
Редуктор присоединяют к баллону. Газ проходит через входной фильтр и подается в камеру повышенного давления. Во время вращения винта по часовой стрелке, усиливается нажимная пружина. Усилие передается на мембрану и толкатель, который перемещает редуцирующий клапан. Клапан перемещается и отрывается зазор для прохода газа.
Виды редукторов
В зависимости от вида газа в баллоне, есть несколько типов редукторов, а также они отличаются друг от друга способом присоединения к емкости и по цвету.
В целом регуляторы давления на редукторы горючих газов (водород, пропан, метан) и инертных (азотные, аргоновые, гелиевые).
Характеристика
- Кислородные – предназначены для регулировки подачи кислорода в баллоне. Распространенные маркировки: СКО — 10-2, БКО — 50 мини, РК-70, РКЗ — 500-2. Окрашены в голубой цвет, крепятся с помощью накидных гаек. Пропускная способность от 10 до 500 м3/час. Цена варьируется от 1600 до 21500 рублей.
- Пропановые – регулируют подачу пропана. Маркировки: БПО — 5, СПО — 6, РДСГ-1-MTL (лягушка). Окрашены в красный цвет, крепятся с помощью накидных гаек. Пропускная способность от 1,5 до 1,6 м3/час. Цена – от 400 до 1600 рублей.
- Углекислотные – для регулировки подачи углекислотного газа. Маркировки: УР-6-6, БУО-5-4. Могут быть окрашены в черный цвет или в красный с синим. Крепятся накидными гайками. Пропускная способность 5-6 м3/час. Цена 900-1500 рублей.
- Ацетиленовые – регулируют подачу ацетилена. Маркировки: БАО-5-4, РАО-30-1, САО — 10. Крепятся хомутами. Окрашены в белый цвет. Пропускают от 5 до 30 м3/час. Цена от 1600 до 14300 рублей.
- Аргоновые. Маркировки бывают: АР-40-4ДМ, АР-40-КР1-м-р. Цвет белый или черный. Пропускают 1,8-5,4 м3/час. Цена 1400-1750 рублей.
- Гелиевые. Для регулировки гелия. Маркируются: Г-70-КР1, Г-70-КР1-м. Крепятся гайками. Цвет белый либо черный. Пропускная способность 4,2. Цена около 1500.
пропускная способность (наибольшее значение) м3/ч
давление газа на входе, (наибольшее значение) МПа (кгс/см2)
рабочее давление газа, (наибольшее значение) МПа (кгс/см2)
В своем блоге буду описывать основы технологии судоремонта, методы дефектоскопии, восстановления и упрочнения деталей, виды и методы ремонта судов и механизмов.Будет приведена технологическая документация на ремонт и изготовление деталей.
Оглавление
Оборудование и аппаратура для кислородной резки
Пост для ручной кислородной резки изображен на рис. 80.
Рис. 80. Пост для ручной кислородной резки.
1 — кислородный баллон; 2 — вентиль с редуктором; 3 — шланги; 4 — резак; 5 — ацетиленовый баллон.
Кислородные баллоны служат для хранения и транспортировки сжатого кислорода. Как правило, они имеют водяной объем от 0,4 до 50 дм3, но наибольшее распространение получили баллоны на 40 дм3. В предельно наполненном баллоне кислород находится под давлением 15 МПа. При этом давлении на манометре и температуре 293 К в баллоне, имеющем водяной объем 40 дм3, содержится около 6 м3 кислорода. Масса такого баллона (рис. 81) составляет около 60 кг (без вентиля, колпака и башмака). Башмак служит для устойчивости баллона в вертикальном положении.
Рис. 81. Кислородный баллон.
/ — днище; 2 — цилиндрический корпус; 3 — горловина; 4 — кольцо; 5 — предохранительный колпак; 6 — вентиль; 7 — опорный башмак.
Кислородные баллоны, окрашенные в голубой цвет, имеют надпись черной краской «Кислород». В использованном кислородном баллоне должно быть остаточное давление не менее 0,05 МПа.
Ацетиленовые баллоны служат для хранения и транспортировки растворенного ацетилена. Ацетиленовые баллоны заполняются специальной пористой массой (активированным углем), пропитанной ацетоном. Ацетилен растворяется в ацетоне и становится взрывобезопасным при значительном давлении. Предельно допустимое давление внутри наполненного баллона ацетилена равно 1,9 МПа при температуре 293 К.
Корпус ацетиленового баллона аналогичен кислородному.
Вентили. На всех баллонах устанавливают вентили — запорные приспособления, препятствующие выходу газа из баллона. Вентиль необходим также для присоединения к баллону редуктора или наполнительной рампы. От исправности вентиля зависит безопасность работы. Вентиль ввертывают в горловину баллона хвостовиком с конической резьбой.
В кислородном вентиле металлические части, непосредственно соприкасающиеся с кислородом, обычно изготовляют из латуни марок ЛС59-1 и Л62. Вентиль кислородного баллона (рис. 82) открывают вращением (по часовой стрелке) маховика, который поворачивает шпиндель. Это вращение через муфту передается клапану, который поднимается вверх, открывая канал, соединяющий баллон с боковым штуцером.
Читайте также: Cf moto какое масло в редукторе
Рис. 82. Вентиль кислородного баллона.
/ — маховик; 2 — шпиндель; 3 — сальниковая гайка; 4 — фибровая прокладка; 5 — боковой штуцер; 6 — заглушка; 7 — хвостовик с конической резьбой; 8 — корпус вентиля; 9 — клапан; 10 — соединительная муфта; // — гайка шпинделя.
Вентиль ацетиленового баллона по конструкции отличается от кислородного тем, что не имеет маховика и штуцера. Для ацетиленрвого вентиля нельзя использовать медь и сплавы, содержащие более 70 % меди. Нижняя часть корпуса вентиля имеет резьбу и ввертывается в горловину баллона. Вентиль открывают специальным торцевым ключом, надеваемым на верхнюю часть шпинделя.
Редукторы. Кислород и горючий газ подают к рабочим местам под высоким давлением от баллона или под рабочим давлением от магистральных трубопроводов. Понижение давления до рабочего и поддержание его постоянным в процессе работы производится прибором, называемым редуктором. Постовой редуктор рассчитан на обслуживание одного поста для газовой резки или сварки.
По роду газа редукторы разделяют на кислородные, ацетиленовые и др. Кислородные баллоны рассчитаны на рабочее давление 0,05—1,5 МПа и пропускную способность 7,5— 60,0 м3/ч, ацетиленовые —на 0,01—0,12 МПа и 3,0—5,0 м3/ч соответственно.
Для подачи газов в магистрали применяют рамповые редукторы. Принцип их действия не отличается от баллонных.
Корпус редукторов окрашивают в различные цвета: кислородных— в голубой, ацетиленовых — в белый, пропан-бутановых — в красный. На рис. 83 показано устройство редуктора для ацетилена, а на рис. 84 — схема работы редуктора для сжатых газов.
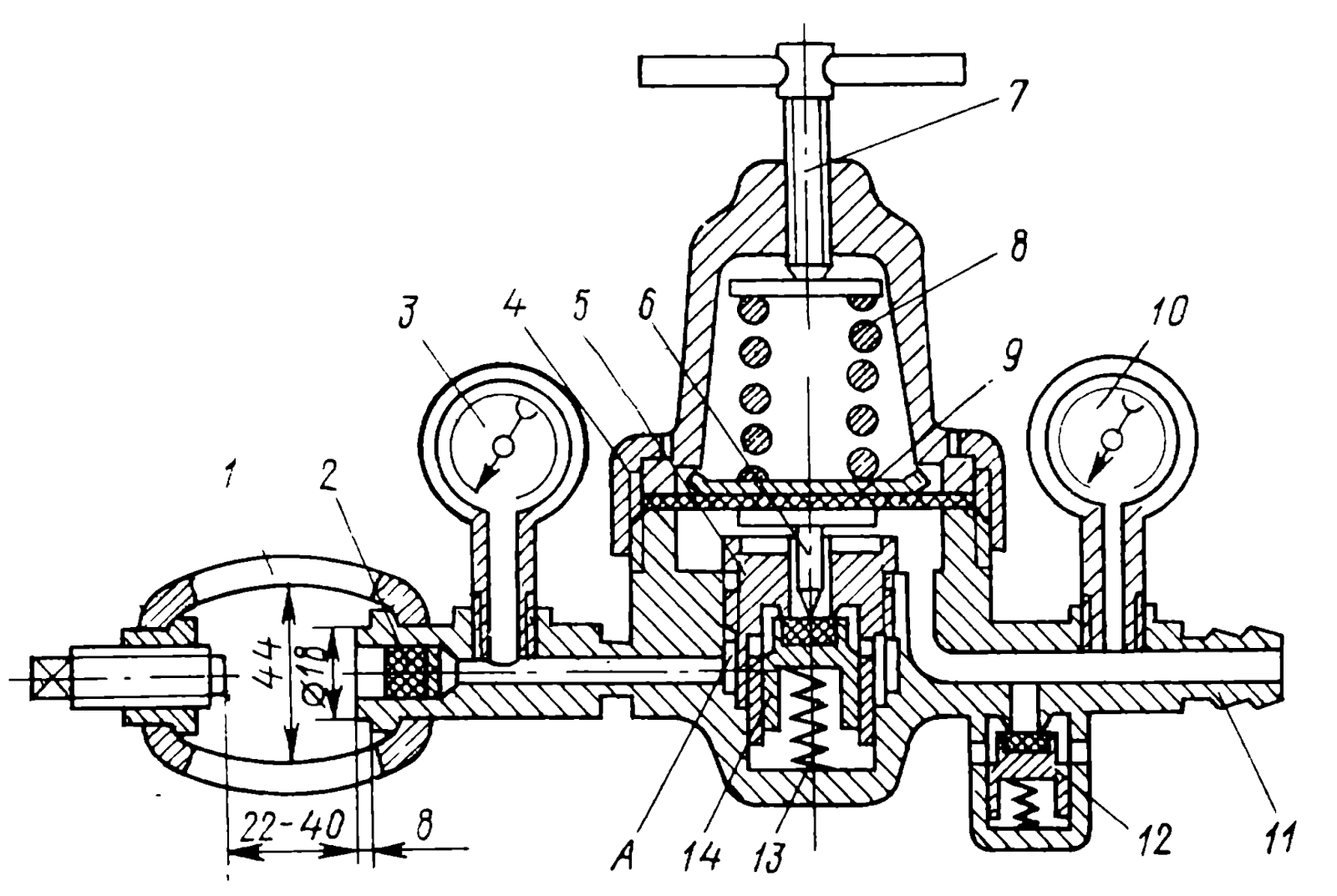
Рис. 83. Схема устройства редуктора типа ДАП-1 для ацетилена.
/ — хомут; 2 — фильтр; 3 — манометр; 4 — мембрана; 5 — седло; 6 — толкатель; 7 — винт регулирующий; 8 — пружина нажимная; 9 — диск нажимной; 10 — манометр низкого давления; // — штуцер; 12 — клапан предохранительный; 13 — пружина запорная; И — клапан редуцирующий.
Рис. 84. Схема работы редуктора для сжатых газов: а — газ не идет через редуктор; б — рабочее положение редуктора — газ идет в резак.
Сжатый газ поступает в камеру высокого давления и, проходя через отверстие между седлом и клапаном, поступает в камеру низкого давления. Отсюда редуцированный газ подается посредством толкателя к резаку. Количество газа, проходящего через редуктор, регулируется с помощью клапана, вращаемого винтом. Давление газа на входе в редуктор показывает манометр высокого давления, на выходе — манометр низкого давления. Установленное рабочее давление автоматически поддерживается в редукторе постоянным.
Ацетиленовый однокамерный редуктор отличается от кислородного лишь окраской корпуса и конструкцией присоединения к баллону.
Редукторы подлежат профилактическому осмотру и ремонту один раз в квартал. Профилактику производят в специальных мастерских, оборудованных в соответствии с правилами техники безопасности.
Неполадки в работе редукторов. Основными неполадками в кислородных редукторах являются самотек и замерзание.
Самотек заключается в том, что при полностью вывернутом винте редуктора газ из камеры высокого давления все же поступает в рабочую камеру вследствие неплотного прилегания клапана к седлу. На самотек и исправность предохранительный клапан редукторов проверяется не реже одного раза в неделю. Устранение самотека производится только в мастерской.
Замерзание кислородного редуктора может произойти при недопустимо большом отборе газа из баллона (резаки и горелки большой мощности) и повышенной влажности кислорода. Корпус редуктора покрывается инеем, подача газа прекращается. Причиной замерзания редуктора является резкое изменение объема газа, понижение его температуры при прохождении из камеры высокого давления в камеру низкого давления.
Отогрев редуктора можно производить только чистой горячей водой, не имеющей следов жира, или другими способами, обеспечивающими требования безопасности (на батарее парового отопление, отогрев паром и т. п.).
Распределительные рампы, трубопроводы, рукава, шланги. По действующим в СССР правилам при наличии в одном помещении десяти и более рабочих постов газопламенной обработки требуется централизованное питание этих постов газами (кислородом и горючим), которое осуществляется с помощью распределительных рамп и трубопроводов.
Распределительная рампа состоит из коллектора, имеющего две ветви (на 5 или 10 баллонов каждая) с вентилями, к которым подключаются баллоны. На рампах предусмотрены рамповые редукторы, понижающие давление кислорода от 15 до 0,3—1,0 МПа и ацетилена от 1,9 до 0,02—0,1 МПа. В ацетиленовой рампе, кроме того, между редуктором и коллектором устанавливают огнепреградители, защищающие рампу от проникновения в нее пламени при взрывчатом распаде ацетилена. Кислородные баллоны присоединяются к своей рампе при помощи медных трубок (змеевиков) с накидными гайками, а ацетиленовые — посредством бронированных резинотканевых рукавов с хомутами.
У каждого рабочего поста от трубопроводов кислорода и горючего газа делают отводы. На отводе от кислородопровода устанавливают запорный вентиль и редуктор, а на отводе горючего газа — вентиль и предохранительный затвор. Отводы вместе со смонтированной на них аппаратурой необходимо закрывать металлическими шкафчиками.
Рукава для ацетилена рассчитывают на наибольшее рабочее давление, равное 0,63 МПа, а для кислорода — не более 2,1 МПа. При недостаточной длине рукавов разрешается соединить отдельные отрезки, каждый не короче 3 м, при помощи специальных ниппелей — латунных для кислорода и стальных для ацетилена, с закреплением винтовыми хомутами. Ацетиленовый рукав снаружи должен быть окрашен в красный цвет, а кислородный — в синий. Рукава необходимо осматривать и испытывать один раз в месяц.
Предохранительные затворы. Предохранительные затворы предназначены для защиты ацетиленовых трубопроводов от проникновения в них пламени при обратном ударе, а также кислорода из горелки и атмосферного воздуха.
В СССР применяют затворы закрытого типа (для работы от трубопроводов). Затворы могут быть мембранными и безмембранными.
Мембранный затвор имеет мембрану из тонкой алюминиевой фольги; при обратном ударе она разрывается и взрывчатая смесь выбрасывается в атмосферу. В остальном работа мембранных и безмембранных затворов аналогична.
Читайте также: Ремонт редуктора томасетто антарктика
Рис. 85. Схема работы предохранительного безмембранного жидкостного затвора закрытого типа.
/ — газоподводящая трубка; 2 — шариковый клапан; 3—корпус затвора: 4 — диск-отражатель; 5 — ниппель; 6 — контрольный краник.
В безмембранном затворе марки ЭСП-8 при нормальной работе (рис. 85) ацетилен через газоподводящую трубку и шариковый клапан проходит в корпус затвора, заполненный водой или незамерзающей жидкостью до уровня контрольного краника, и через ниппель поступает в горелку.
В случае обратного удара (см. рис. 85, а) взрывная волна гасится в узком кольцевом зазоре между стенкой затвора и диском-отражателем (см. рис. 85, б), давление в затворе резко повышается, в результате обратный клапан под давлением жидкости закрывается, прекращая дальнейшее поступление ацетилена.
Предохранительные затворы в судостроении должны осматриваться и испытываться один раз в месяц.
Резаки. Резак служит для смешивания кислорода и горючего газа, образования подогревающего пламени и подачи чистого кислорода в зону реза.
По назначению различают резаки: ручные универсальные (типа «Пламя-66», «Факел», «Ракета» и др.)» специальные (срезка заклепок, вырезка отверстий и т. п.); кислородно-флюсовые (газовая резка чугуна и спецсталеи); прочие специальные. По роду применяемого газа резаки бывают: ацетилено-кислородные для природного газа, жидкого газа, жидкого горючего (керосин).
Рис. 86. Схема резака для кислородной резки.
/ — внутренний мундштук; 2 — наружный мундштук; 3 — трубка для подачи режущего кислорода; 4 — трубка для подачи горючего газа с кислородом; 5 — смесительная камера; 6 — инжектор; 7 — вентиль для регулирования подачи горючего газа; 8 — вентиль для регулирования подачи кислорода; 9 — то же режущего газа.
Наибольшее распространение в судостроении получили резаки типа «Пламя» на ацетилене. Промышленность выпускает ручные резаки, в основном инжекторного типа (рис. 86). В таком резаке для регулирования подачи газа служит вентиль 7, а для подачи режущего кислорода — вентиль 8. Инжектор 6 установлен перед смесительной камерой 5. К головке резака горючая смесь подается по трубке 4, а режущий кислород — по трубке 3. В головку резака ввертывают внутренний 1 и наружный 2 мундштуки. Горючий газ, поступая из шланга через вентиль в инжектор, засасывается в смесительную камеру струей кислорода, где образует горючую смесь, поступающую в кольцевой, зазор, образованный внутренним и наружным мундштуками. При зажигании эта смесь воспламеняется и образуется подогревающее пламя. Режущий кислород подается через осевое отверстие внутреннего мундштука.
Эксплуатация ацетиленового резака. Новые резаки должны быть проверены в мастерской по ремонту газорезательной аппаратуры (а где ее нет — слесарями, имеющими право на ремонт газорезательной аппаратуры) на подсос, плотность и горение.
Основные неполадки резака. При работе резака часто получается несимметричное пламя. Это явление вызвано переносом внутреннего мундштука относительно наружного. Кольцевой зазор между внутренним и наружным мундштуками неравномерный. Устраняется этот дефект в мастерской по ремонту горизонтальной аппаратуры. При засорении сопла струя режущего кислорода отличается от формы цилиндра. Для устранения этого дефекта сопло режущего кислорода прочищают латунной иглой. Если и в этом случае струя режущего кислорода отклоняется от цилиндрической формы, следует заменить внутренний мундштук. При появлении хлопков необходимо выяснить причину (перегрев головки резака, попадание брызг в мундштуки) и подтянуть накидную гайку, присоединяющую смесительную камеру к корпусу резака и трубке режущего кислорода. Следует также проверить плотность присоединения инжектора в корпусе резака и уплотнительиые поверхности в местах присоединения.
Читайте также: Шестерня редуктора стартера или бендикс
Редуктор назначение и принцип действия.
Газовые редукторы нужны для понижения (редуцирования) давления газа в баллонах или трубопроводах, до величины рабочего давления и для автоматического поддержания его постоянным.
На рис. 1 изображен газовый редуктор. С его принципом действия вы можете ознакомится ниже.
В камеру высокого давления 1 редуктора поступает газ из трубопровода или баллона. Затем газ из камеры высокого давления выходит в камеру низкого давления 2, через клапан 3, который плотно прижимается к седлу с помощью запорной пружины 4.
Одна из стенок камеры низкого давления гибкая (резиновая) мембрана 5. Резиновая мембрана с одной стороны соединена с клапаном при помощи передаточного шпинделя, а с другой стороны имеется нажимная пружина 6 с регулирующим винтом 7.
Рис.1. Схема газового редуктора.
Нажимная пружина в нерабочем состоянии находится в свободном положении. При ввертывании регулирующего винта пружина сжимается и перемещает мембрану, которая нажимает на передаточный шпиндель и открывает клапан.
Газ, проходя через клапан в рабочую камеру, расширяется, и его давление падает.
Имеющийся на камере 2 манометр 8 низкого давления показывает величину рабочего давления, установленную нажимным винтом. Манометр 9 высокого давления, установленный на камере 1, показывает давление газа в баллоне или трубопроводе.
При работе происходит отбор газа из камеры низкого давления. Если этот отбор равен поступлению газа из камеры 1 в камеру 2, то рабочее давление останется постоянным и мембрана будет находиться в установленном положении.
Если же отбор газа из редуктора больше, чем поступление, то давление в рабочей камере понизится, мембрана, встретив меньшее сопротивление газа, под действием нажимной пружины приоткроет клапан, и поступление газа в камеру 2 увеличится.
Наоборот, уменьшение отбора газа увеличит давление в рабочей камере, мембрана силой этого давления передвинется в обратную сторону, и клапан прижмется к отверстию.
Классификация газовых редукторов.
Все редукторы можно классифицировать по следующим признакам:
по присоединению редуктора к баллону;
по пропускной способности;
по величине рабочего давления;
по количеству ступеней редуцирования.
По принципу действия.
Бывают редукторы обратного и прямого действия. В редукторах прямого действия газ, который поступает из трубопровода или баллона стремится открыть клапан с помощью своего давления, тем самым помогая действию нажимной пружины.
В редукторах обратного действия, газ поступающий из трубопровода или баллона, наоборот, стремится закрыть клапан, тем самым помогая действию запорной пружины.
Присоединение редуктора к баллону.
Имеются редукторы для кислорода и для горючих газов (ацетилена, водорода и др.). Основное различие между ними заключается в способе прикрепления к вентилю.
Кислородный редуктор присоединяется к вентилю с помощью накидной гайки диаметром 3/4″ с правой трубной резьбой. Специальным хомутом присоединяется ацетиленовый редуктор. Редуктора других газов присоединяются с помощью накидной гайки диаметром 21,8 мм с левой трубной резьбой.
По внешнему виду.
Редукторы различаются по цвету окраски: кислородный редуктор окрашивается в голубой цвет, ацетиленовый — в белый, а водородный — в зеленый (защитный).
По пропускной способности и рабочему давлению.
Различают редукторы баллонные (постовые) и центральные (рамповые).
Баллонные редукторы для кислорода и водорода имеют пропускную способность 60 м 3 /час и рабочее давление до 15 кг/см 2 , а для ацетилена — пропускную способность 5 м 3 /час и рабочее давление до 1,5 кг/см 2 .
Центральные редукторы для кислорода имеют пропускную способность до 250 м 3 /час (в некоторых случаях — значительно большую) и рабочее давление до 25 кг/см 2 .
По количеству ступеней редуцирования.
Применяют одноступенчатые (однокамерные) и двухступенчатые (двухкамерные) редукторы. В двухступенчатых редукторах давление газа дважды последовательно понижается. Они отличаются большим постоянством рабочего давления и морозоустойчивостью.
- Свежие записи
- Чем отличается двухтактный мотор от четырехтактного
- Сколько масла заливать в редуктор мотоблока
- Какие моторы бывают у стиральных машин
- Какие валы отсутствуют в двухвальной кпп
- Как снять стопорную шайбу с вала
- Правообладателям
- Политика конфиденциальности
Механика © 2023
Информация, опубликованная на сайте, носит исключительно ознакомительный характер



















