Примечание: проверку и регулировку зазора в приводе клапанов производите на холодном двигателе.
Двигатели 3S-FE, 4S-FE
1. Снимите кронштейн троса привода дроссельной заслонки (если мешает снятию головки блока цилиндров).
а) Отсоедините тросы управления от тяги дроссельной заслонки.
б) Отверните два болта и снимите кронштейн крепления троса привода акселератора.
2. Снимите крышку головки блока цилиндров.
а) Отсоедините четыре высоковольтных провода от зажима, на крышке головки блока цилиндров.
б) Отсоедините высоковольтные провода за резиновые колпачки. Не натягивайте высоковольтные провода.
Примечание: натяжение или изгиб проводов может вызвать их внутренние повреждения.
в) Отсоедините два шланга системы вентиляции картера от впускного коллектора и крышки головки блока цилиндров.
г) Отсоедините шланг возврата рабочей жидкости насоса гидроусилителя от защиты жгута проводов.
д) Снимите два зажима защиты жгута проводов от болтов крепления крышки №2 ремня привода ГРМ, в показанной на рисунке последовательности.
е) Отверните четыре гайки, снимите уплотнение трубок свечей зажигания, крышку головки блока цилиндров и прокладку.
Примечание: расположите уплотнения трубок свечей зажигания в последовательности обратной снятию, для правильной их установки, чтобы минимизировать возможность утески масла.
3. Установите поршень цилиндра №1 в ВМТ такта сжатия.
а) Поверните шкив коленчатого вала и совместите его риску с установочной меткой «0» на нижней крышке ремня привода ГРМ.
б) Проверьте, чтобы толкатели клапанов цилиндра №1 были свободны, а толкатели клапанов цилиндра №4 — зажаты.
Если нет, поверните коленчатый вал один оборот (360°) и совместите метку как указывалось выше.
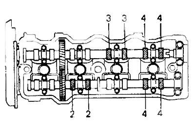
4. Проверьте зазор в приводе клапанов.
а) Проверьте зазор в приводе клапанов, обозначенных на рисунке.
- Используя щуп, измерьте зазор между толкателем и распределительным валом.
- Запишите результаты — измерений зазора в приводе клапанов. Они будут использоваться позже для определения необходимой регулировочной шайбы при замене.
Зазор в приводе клапанов (холодный двигатель):
- впускные — 0,19-0,29 мм
- выпускные — 0,28 — 0,38 мм
б) Поверните коленчатый вал на один оборот (360°) и совместите метки как указывалось выше.
в) Измерьте зазор в приводе клапанов обозначенных на рисунке.
5. Отрегулируйте зазор в приводе клапанов.
а) Снимите регулировочную шайбу.
- Поверните коленчатый вал так, чтобы рабочий выступ кулачка распределительного вала находился наверху.
Используя специнструмент (А), прижмите толкатель, и разместите специнструмент (В) между распределительным валом и толкателем.
Снимите регулировочную шайбу с помощью маленькой отвертки и магнитного стержня.
б) Определите размер новой регулировочной шайбы следующим методом:
Используя микрометр, измерьте толщину снятой регулировочной шайбы.
Вычислите толщину новой регулировочной шайбы тек, чтобы клапанный зазор находился в пределах указанных значений.
Толщина снятой регулировочной шайбы — Г
Читайте также: Клапан серый вакуумный дн 110 татполимер тп 900
Измеренный зазор в приводе клапанов — А
Толщина новой регулировочной шайбы — N
- впускной — N = Т + А (- 0,24 мм)
- выпускной — N — Т + А (- 0,33 мм)
Подберите новую регулировочную шайбу с толщиной как можно ближе к расчетному значению.
Примечание: регулировочные шайбы имеют 17 размеров (значений толщины) от 2,50 мм до 3,30 мм через 0.05 мм.
в) Установите новую регулировочную шайбу в толкатель. Используя специнструмент (А), прижмите толкатель, и снимите специнструмент (В).
г) Повторно проверьте зазор в приводе клапанов.
6. Установите крышку головки блока цилиндров.
а) Удалите старый уплотнительный материал и нанесите герметик на головку блока цилиндров, как показано в рисунке.
б) Установите прокладку на крышку головки блока цилиндров.
в) Установите крышку головки блока цилиндров и четыре уплотнения трубок свечей зажигания, затянув гайки.
г) Установите защиту жгута проводов двигателя, затянув два болта крепления к верхней крышке ремня привода ГРМ, в последовательности обратной снятию.
д) Установите шланг возврата рабочей жидкости насоса гидроусилителя к защите жгута проводов.
е) Подсоедините два шланга системы вентиляции картера к впускному коллектору и крышке головке блока цилиндров.
ж) Установите высоковольтные провода в зажим, на крышке головки блока цилиндров и подсоедините их к свечами зажигания.
з) Установите две прокладки на крышку головки блока цилиндров
и) Установите крышку головки блока цилиндров, шайбы и затяните винты в несколько подходов.
7. Установите кронштейн троса привода дроссельной заслонки, затянув два болта и подсоедините тросы управления к тяге дроссельной заслонки.
Двигатель ЗС-Т
1. Отсоедините трос акселератора
2. Снимите четыре зажима и отсоедините жгут проводов.
3. Отсоедините два вакуумных шланга
4. Отсоедините шланг вентиляции картера.
5. Отверните три болта и отодвиньте вакуумную трубку в сторону.
Примечание: не отсоединяйте вакуумный шланг.
6. Отверните два болта, снимите два зажима и отделите боковую защитную крышку от правого переднего крыла.
7. Снимите крышку головки блока с вакуумным насосом
а) Снимите заглушку крышки №2 ремня привода ГРМ.
б) Поворачивайте коленчатый вал по часовой стрелке пока метка на шкиве распредвала не установиться внизу.
В этой позиции поршень вакуумного насоса находится в НМТ и сжатие пружины становится наименьшим.
1 — предохранительный клапан,
2 — поршень,
3 — шток,
4 — подшипник,
5 — кулачок вакуумного насоса,
6 — распределительный вал,
7 — пружина,
8 — крышка головки блока.
в) Отверните два болта крышки №2 ремня привода ГРМ.
г) Отверните болт крепления жгута проводов.
д) Отверните 10 болтов и снимите крышку с насосом.
8. Измерьте зазоры в клапанах.
- Впускных — 0,20-0,30 мм
- Выпускных — 0,25-0,35 мм
9. Регулировка тепловых зазоров в клапанах.
а) Поверните коленчатый вал так, чтобы выступ кулачка распределительного вала был направлен вверх.
б) Расположите выемку в толкателе клапана так, чтобы она была обращена в сторону впускного коллектора.
в) Используя специальное приспособление (А), нажмите вниз на толкатель клапана и установите специальное приспособление (В) между распределительным валом и толкателем клапана.
Читайте также: Поршневые кольца ваз 2110 8 клапанов инжектор
г) С помощью маленькой отвертки и магнитного стержня удалите старую регулировочную шайбу.
д) Измерьте микрометром толщину снятой регулировочной шайбы. Подсчитайте толщину новой регулировочной шайбы таким образом, чтобы расчетный зазор удовлетворял приведенным в технических условиях значениям:
- Т — толщина снятой шайбы, мм
- А — измеренный зазор, мм
- N — толщина новой шайбы, мм
Подберите регулировочную шайбу толщиной, наиболее близкой к расчетной.
Примечание: регулировочные шайбы бывают 25 размеров: от 2,20 мм до 3,40 мм с шагом 0.05 мм. Толщина отштамповывается на шайбе.
е) Установите новую регулировочную шайбу в толкателе клапана.
ж) Используя специальное приспособление (А), нажмите вниз на толкатель клапана и снимите приспособление (В).
Снова проверьте зазор в клапане.
10. Установка крышки головки блока цилиндров в сборе с вакуумным насосом.
а) Установите шкив распределительного вала меткой вниз.
б) Удалите остатки старого герметика.
в) Нанесите герметик на головку цилиндров в местах, указанных на рисунке.
г) Установите крышку головки блока, закрепив десятью болтами.
- Момент затяжки — 13,5 Нм
д) Затяните болт крепления жгута проводов.
е) Установите и затяните два болта крышки №2 ремня привода ГРМ.
11. Установите боковую защитную крышку на правое переднее крыло, закрепите ее болтами и зажимами
12. Пододвиньте на место вакуумную трубку. Затяните три болта.
13. Подсоедините шланг вентиляции картера.
14. Установите жгут проводов и закрепите его четырьмя зажимами.
Toyota Vista 2.0 i 4WD 4дв. седан, 135 л.с, 4АКПП, 1998 – 2003 г.в. — регулировка зазоров в приводе клапанов
Не отрегулированы зазоры в приводе клапанов двигателя
Для чего нужна регулировка клапанов
У современного автомобиля два клапана на цилиндр (или более). Один из них запускает горючую смесь, а другой выпускает отработавшие газы (они называются впускной и выпускной). А механизм, который приводит в действие эти клапаны и устанавливает порядок их работы, называется газораспределительный или клапанным. После нагрева двигателя, детали расширяются. Следовательно, на холодном моторе между некоторыми его деталями должны быть строго определенные зазоры.
Если клапаны неправильно отрегулированы — это может привести к снижению эффективности работы двигателя и уменьшению ресурса его деталей. Например, при маленьких зазорах клапаны и их седла будут подгорать — снизиться общий ресурс мотора. При больших зазорах, когда клапаны открываются не полностью, мощность двигателя будет заметно падать — услышите отчетливый металлический стук.
Что будет, если будут маленькие зазоры клапанов?
Маленькие зазоры клапанов будут приводить к подгоранию седел клапанов.
Что будет, если будут большие зазоры клапанов
Большие зазоры клапанов будут приводить к неполному открытию клапанов, что будет сказываться на мощности двигателя. Увеличенные зазоры клапанов можно распознать по характерному металлическому стуку. Шумы в двигателе могут сигнализировать о неисправности ГРМ.
Читайте также: Изменения в предсердии клапан
Данные тепловых зазоров есть в руководстве по ремонту автомобиля. Они различны для каждого мотора. Заметьте, что для впускного и выпускного клапанов, а иногда и для разных цилиндров зазоры разные.
Периодичность регулировки клапанов, если она предусмотрена конструкцией мотора, указывается в руководстве по эксплуатации автомобиля.
Как происходит регулировка
Для того, чтобы проверить и отрегулировать зазор, двигатель должен быть холодным. Тепловой зазор проверяют плоским щупом определенной толщины. Настройка производится поворотом регулировочных винтов коромысел в требуемую сторону.
Чтобы начать регулировку, установите поршень цилиндра, который собираетесь регулировать, в верхнюю мертвую точку такта сжатия. В этом положении оба клапана данного цилиндра закрыты, а коромысла должны свободно качаться в пределах зазора.
Затем отпускаете контргайку на регулировочном винте или болте. При помощи плоского щупа и регулировочного винта (болта) настройте необходимый зазор, затем затяните контргайку. Будьте внимательны: иногда после затяжки контргайки зазор может измениться, поэтому данную операцию необходимо делать аккуратно. После затяжки снова его проверьте. Зазор станет оптимальным тогда, когда щуп будет проходить в него, преодолевая небольшое усилие. Если он проходит слишком легко или слишком тяжело, отрегулируйте заново.
Потом, поворачивая коленчатый вал на пол-оборота, нужно отрегулировать зазор в клапанах других цилиндров. Здесь необходимо соблюдать порядок работы цилиндров двигателя Вашего автомобиля (например, 1-3-4-2). Коленвал следует поворачивать только по часовой стрелке и только за ручку «кривого стартера» (пусковая рукоятка) или же за болт крепления шкива привода генератора. Можно поворачивать коленвал за вывешенное ведущее колесо, но здесь необходимо соблюдать осторожность.
ПОЧЕМУ НА НЕКОТОРЫХ МОТОРАХ КЛАПАНЫ РЕГУЛИРОВАТЬ НЕ НУЖНО
Неоднократное уточнение о том, что регулировка клапанов должна быть предусмотрена конструкцией мотора, весьма важно: ведь многие двигатели этой процедуры не требуют. Зависит это от того, оснащен ли мотор гидрокомпенсаторами: это устройства, предназначенные для автоматической регулировки теплового зазора. Они работают за счет масла, поступающего в них из двигателя (поэтому, собственно, и называются «гидрокомпенсаторами») и полностью исключают необходимость периодической ручной регулировки клапанов. Сами они, конечно же, тоже не вечны – о необходимости их проверки и замены говорит все тот же цокающий стук, не исчезающий вскоре после запуска, а порой даже после прогрева двигателя. Однако главное, что нужно знать в контексте этого материала – это то, что моторам, оснащенным гидрокомпенсаторами, регулировка клапанов не нужна.
Если в двигателе транспортного средства гидрокомпенсаторов нет, то регулировать клапана необходимо вручную. О том, что пришла пора заняться этим делом, довольно легко узнать по некоторым симптомам. Одним из них является характерное «цокание» клапанов, которое уже было упомянуто выше, а другим — то, что двигатель начинает «троить», в его цилиндрах или существенно падает, или же полностью пропадает компрессия. Как только проявляется хотя бы один из этих симптомов, необходимо проверить размеры промежутков в клапанном механизме.
































